JavaScript is required
Danh sách đề

400+ câu hỏi trắc nghiệm Kỹ thuật mạch điện tử có lời giải chi tiết từng bước - Đề 6

50 câu hỏi 60 phút

Thẻ ghi nhớ
Luyện tập
Thi thử
Nhấn để lật thẻ
1 / 50

Một bộ khuếch đại thuật toán lý tưởng có Zr=0:

A.

Không xác định được mà là rất nhỏ

B.

Chưa xác định còn tùy thuộc vào mạch

C.

Đúng

D.

Sai

Đáp án
Đáp án đúng: D

Trong một bộ khuếch đại thuật toán (Op-Amp) lý tưởng, trở kháng đầu vào (Zr hay Zin) được coi là vô cùng lớn (∞), và trở kháng đầu ra (Zo hay Zout) được coi là bằng 0. Điều này có nghĩa là Op-Amp lý tưởng không tiêu thụ dòng điện từ nguồn tín hiệu (trở kháng đầu vào vô cùng lớn) và có thể cung cấp dòng điện không giới hạn cho tải (trở kháng đầu ra bằng 0). Vì câu hỏi nêu Zr=0, nên đáp án là "Sai".

Danh sách câu hỏi:

Câu 1:

Một bộ khuếch đại thuật toán lý tưởng có Zr=0:

Lời giải:
Đáp án đúng: D

Trong một bộ khuếch đại thuật toán (Op-Amp) lý tưởng, trở kháng đầu vào (Zr hay Zin) được coi là vô cùng lớn (∞), và trở kháng đầu ra (Zo hay Zout) được coi là bằng 0. Điều này có nghĩa là Op-Amp lý tưởng không tiêu thụ dòng điện từ nguồn tín hiệu (trở kháng đầu vào vô cùng lớn) và có thể cung cấp dòng điện không giới hạn cho tải (trở kháng đầu ra bằng 0). Vì câu hỏi nêu Zr=0, nên đáp án là "Sai".

Câu 2:

Ổn định biên độ điện áp dao động bằng cách:

Lời giải:
Đáp án đúng: D
Ổn định biên độ điện áp dao động có thể được thực hiện bằng nhiều phương pháp khác nhau:

* Dùng mạch hồi tiếp phi tuyến hoặc dùng phần tử hiệu chỉnh: Mạch hồi tiếp phi tuyến (ví dụ, sử dụng diode hoặc transistor mắc theo kiểu hạn chế biên độ) giúp giới hạn biên độ dao động, ngăn không cho nó tăng quá mức. Phần tử hiệu chỉnh cũng có thể được sử dụng để điều chỉnh hệ số khuếch đại của mạch, từ đó ổn định biên độ.
* Chọn trị số nguồn nuôi thích hợp: Nguồn nuôi có ảnh hưởng trực tiếp đến biên độ dao động. Chọn trị số nguồn nuôi phù hợp sẽ giúp duy trì biên độ ổn định.
* Dịch chuyển điểm làm việc trên đặc tuyến phi tuyến của phần tử tích cực: Việc chọn điểm làm việc phù hợp trên đặc tuyến của linh kiện tích cực (ví dụ transistor) sẽ giúp mạch khuếch đại tuyến tính trong một khoảng biên độ nhất định, từ đó ổn định biên độ dao động.

Vì cả ba phương án trên đều đúng, đáp án chính xác là "Tất cả đều đúng".

Câu 3:

Đầu vào ký hiệu (-) của bộ khuếch đại thuật toán được gọi là:

Lời giải:
Đáp án đúng: C
Đầu vào ký hiệu (-) của bộ khuếch đại thuật toán được gọi là đầu vào đảo. Đầu vào này có đặc điểm là khi tín hiệu đưa vào đầu vào này, tín hiệu đầu ra sẽ bị đảo pha 180 độ so với tín hiệu đầu vào.

Câu 4:

Trong mạch tạo dao động phải có phần tử tích cực (khuếch đại) như tranzito hoặc vi mạch:

Lời giải:
Đáp án đúng: D
Mạch tạo dao động cần một phần tử tích cực (như transistor hoặc vi mạch) để khuếch đại tín hiệu và duy trì dao động. Nếu không có phần tử khuếch đại, tín hiệu sẽ suy giảm dần và dao động sẽ tắt. Do đó, đáp án 'Đúng' là chính xác nhất.
Lời giải:
Đáp án đúng: C
Chỉ số điều chế tần số (m) được tính bằng công thức: m = Δf / fm, trong đó Δf là độ lệch tần số và fm là tần số điều chế.

Trong trường hợp này:
- Δf = 25 KHz (độ lệch tần số sóng mang)
- fm = 10 KHz (tần số điều chế)

Vậy, m = 25 KHz / 10 KHz = 2,5

Do đó, đáp án đúng là m=2,5.

Câu 6:

Mạch khuếch đại dùng BJT với cách mắc mạch nào thì tín hiệu ra sẽ ngược pha với tín hiệu vào:

Lời giải:
Bạn cần đăng ký gói VIP để làm bài, xem đáp án và lời giải chi tiết không giới hạn. Nâng cấp VIP

Câu 7:

Với mạch hồi tiếp âm nối tiếp dòng điện thì trở kháng vào và trở kháng ra thay đổi thế nào:

Lời giải:
Bạn cần đăng ký gói VIP để làm bài, xem đáp án và lời giải chi tiết không giới hạn. Nâng cấp VIP
Lời giải:
Bạn cần đăng ký gói VIP để làm bài, xem đáp án và lời giải chi tiết không giới hạn. Nâng cấp VIP

Câu 9:

Thành phần nào trong mạch ở hình 2 giữ vai trò hồi tiếp:

Lời giải:
Bạn cần đăng ký gói VIP để làm bài, xem đáp án và lời giải chi tiết không giới hạn. Nâng cấp VIP
Lời giải:
Bạn cần đăng ký gói VIP để làm bài, xem đáp án và lời giải chi tiết không giới hạn. Nâng cấp VIP

Câu 11:

Ảnh hưởng của hồi tiếp âm đến mạch khuếch đại như sau, phát biểu nào sau đây đúng:

Lời giải:
Bạn cần đăng ký gói VIP để làm bài, xem đáp án và lời giải chi tiết không giới hạn. Nâng cấp VIP

Câu 12:

Một trong những nhược điểm chính của việc sử dụng các tụ ghép giữa các tầng là:

Lời giải:
Bạn cần đăng ký gói VIP để làm bài, xem đáp án và lời giải chi tiết không giới hạn. Nâng cấp VIP
Lời giải:
Bạn cần đăng ký gói VIP để làm bài, xem đáp án và lời giải chi tiết không giới hạn. Nâng cấp VIP

Câu 14:

Bộ khuếch đại chọn lọc có đặc điểm:

Lời giải:
Bạn cần đăng ký gói VIP để làm bài, xem đáp án và lời giải chi tiết không giới hạn. Nâng cấp VIP

Câu 15:

Với tầng khuếch đại công suất, chế độ A có đặc điểm:

Lời giải:
Bạn cần đăng ký gói VIP để làm bài, xem đáp án và lời giải chi tiết không giới hạn. Nâng cấp VIP

Câu 16:

Theo tính chất hồi tiếp, phát biểu nào sau đây đúng:

Lời giải:
Bạn cần đăng ký gói VIP để làm bài, xem đáp án và lời giải chi tiết không giới hạn. Nâng cấp VIP
Lời giải:
Bạn cần đăng ký gói VIP để làm bài, xem đáp án và lời giải chi tiết không giới hạn. Nâng cấp VIP
Lời giải:
Bạn cần đăng ký gói VIP để làm bài, xem đáp án và lời giải chi tiết không giới hạn. Nâng cấp VIP
Lời giải:
Bạn cần đăng ký gói VIP để làm bài, xem đáp án và lời giải chi tiết không giới hạn. Nâng cấp VIP

Câu 21:

Mạch sau ở hình 5 thuộc loại hồi tiếp nào:

Lời giải:
Bạn cần đăng ký gói VIP để làm bài, xem đáp án và lời giải chi tiết không giới hạn. Nâng cấp VIP
Lời giải:
Bạn cần đăng ký gói VIP để làm bài, xem đáp án và lời giải chi tiết không giới hạn. Nâng cấp VIP
Lời giải:
Bạn cần đăng ký gói VIP để làm bài, xem đáp án và lời giải chi tiết không giới hạn. Nâng cấp VIP

Câu 24:

cấu hình Emitter chung (EC) có đặc điểm:
Lời giải:
Bạn cần đăng ký gói VIP để làm bài, xem đáp án và lời giải chi tiết không giới hạn. Nâng cấp VIP

Câu 25:

RE trong hình 5 có nhiệm vụ gì:

Lời giải:
Bạn cần đăng ký gói VIP để làm bài, xem đáp án và lời giải chi tiết không giới hạn. Nâng cấp VIP

Câu 26:

Ở hình 6, kiểu hồi tiếp sử dụng trong mạch là:

Lời giải:
Bạn cần đăng ký gói VIP để làm bài, xem đáp án và lời giải chi tiết không giới hạn. Nâng cấp VIP

Câu 27:

Xác định chế độ tĩnh của mạch ở hình 7 với RB =470KΩ, Rc =2.2KΩ, RE =2.2KΩ, VCC =20V và β=100.

Lời giải:
Bạn cần đăng ký gói VIP để làm bài, xem đáp án và lời giải chi tiết không giới hạn. Nâng cấp VIP
Lời giải:
Bạn cần đăng ký gói VIP để làm bài, xem đáp án và lời giải chi tiết không giới hạn. Nâng cấp VIP

Câu 29:

Các mạch khuếch đại ghép trực tiếp có ưu điểm hơn so với mạch khuếch đại ghép RC là chúng có thể khuếch đại:

Lời giải:
Bạn cần đăng ký gói VIP để làm bài, xem đáp án và lời giải chi tiết không giới hạn. Nâng cấp VIP

Câu 30:

Méo xuyên tâm trong tầng khuếch đại công suất xuất hiện do:
Lời giải:
Bạn cần đăng ký gói VIP để làm bài, xem đáp án và lời giải chi tiết không giới hạn. Nâng cấp VIP

Câu 31:

Ảnh hưởng của hồi tiếp âm đến trở kháng vào, phát biểu nào sau đây là đúng:

Lời giải:
Bạn cần đăng ký gói VIP để làm bài, xem đáp án và lời giải chi tiết không giới hạn. Nâng cấp VIP

Câu 32:

với mạch hồi tiếp âm nối tiếp dòng điện thì trở kháng vào và trở kháng ra thay đổi thế nào:
Lời giải:
Bạn cần đăng ký gói VIP để làm bài, xem đáp án và lời giải chi tiết không giới hạn. Nâng cấp VIP
Lời giải:
Bạn cần đăng ký gói VIP để làm bài, xem đáp án và lời giải chi tiết không giới hạn. Nâng cấp VIP
Lời giải:
Bạn cần đăng ký gói VIP để làm bài, xem đáp án và lời giải chi tiết không giới hạn. Nâng cấp VIP

Câu 35:

khi BJT mắc theo kiểu EC thì mạch có khả năng cung cấp:
Lời giải:
Bạn cần đăng ký gói VIP để làm bài, xem đáp án và lời giải chi tiết không giới hạn. Nâng cấp VIP
Lời giải:
Bạn cần đăng ký gói VIP để làm bài, xem đáp án và lời giải chi tiết không giới hạn. Nâng cấp VIP
Lời giải:
Bạn cần đăng ký gói VIP để làm bài, xem đáp án và lời giải chi tiết không giới hạn. Nâng cấp VIP

Câu 38:

Trở kháng ra của mạch khuếch đại dùng transistor được xác định khi:

Lời giải:
Bạn cần đăng ký gói VIP để làm bài, xem đáp án và lời giải chi tiết không giới hạn. Nâng cấp VIP
Lời giải:
Bạn cần đăng ký gói VIP để làm bài, xem đáp án và lời giải chi tiết không giới hạn. Nâng cấp VIP
Lời giải:
Bạn cần đăng ký gói VIP để làm bài, xem đáp án và lời giải chi tiết không giới hạn. Nâng cấp VIP
Lời giải:
Bạn cần đăng ký gói VIP để làm bài, xem đáp án và lời giải chi tiết không giới hạn. Nâng cấp VIP
Lời giải:
Bạn cần đăng ký gói VIP để làm bài, xem đáp án và lời giải chi tiết không giới hạn. Nâng cấp VIP
Lời giải:
Bạn cần đăng ký gói VIP để làm bài, xem đáp án và lời giải chi tiết không giới hạn. Nâng cấp VIP
Lời giải:
Bạn cần đăng ký gói VIP để làm bài, xem đáp án và lời giải chi tiết không giới hạn. Nâng cấp VIP
Lời giải:
Bạn cần đăng ký gói VIP để làm bài, xem đáp án và lời giải chi tiết không giới hạn. Nâng cấp VIP

Câu 46:

các mạch khuếch đại ghép trực tiếp có ưu điểm hơn so với mạch khuếch đại ghép RC là chúng có thể khuếch đại:
Lời giải:
Bạn cần đăng ký gói VIP để làm bài, xem đáp án và lời giải chi tiết không giới hạn. Nâng cấp VIP

Câu 47:

một trong những nhược điểm chính của việc sử dụng ghép biến áp giữa các tầng là:
Lời giải:
Bạn cần đăng ký gói VIP để làm bài, xem đáp án và lời giải chi tiết không giới hạn. Nâng cấp VIP
Lời giải:
Bạn cần đăng ký gói VIP để làm bài, xem đáp án và lời giải chi tiết không giới hạn. Nâng cấp VIP

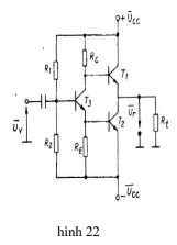
Câu 49:

Với sơ đồ đẩy kéo ở hình 22 thì phát biểu nào sau đây là sai:

Lời giải:
Bạn cần đăng ký gói VIP để làm bài, xem đáp án và lời giải chi tiết không giới hạn. Nâng cấp VIP
Lời giải:
Bạn cần đăng ký gói VIP để làm bài, xem đáp án và lời giải chi tiết không giới hạn. Nâng cấp VIP